+86-15996058266
Дом / Новости / Патенты и преимущества E-ASIA / Патенты и преимущества E-ASIA

Патенты и преимущества E-ASIA

Просмотры:0     Автор:Pедактор сайта     Время публикации: 2022-08-17      Происхождение:Работает

Запрос цены

facebook sharing button
twitter sharing button
line sharing button
wechat sharing button
linkedin sharing button
pinterest sharing button
whatsapp sharing button
sharethis sharing button

Мы можем предложить сопрягаемые подшипники металлургии, карьерных самосвалов и морских буровых платформ, а также ремонт подшипников с помощью наших высококачественных продуктов и услуг.


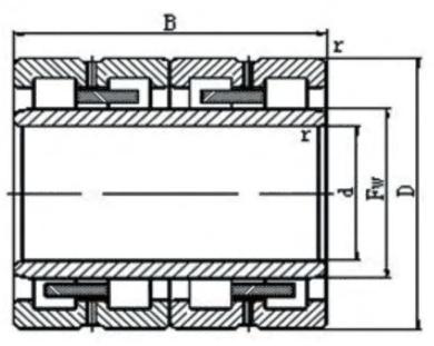
Четырехрядный цилиндрический роликоподшипник с длительным сроком службы

Четырехрядный цилиндрический подшипник прокатного стана делится на два типа сталепрокатного стана и алюминиевого прокатного стана.Их скорость вращения составляет 400-600 об/мин (сталь) и 1500-2000 об/мин (алюминий) соответственно.


Четырехрядные цилиндрические роликоподшипники могут выдерживать более тяжелые радиальные и ударные нагрузки.Они обладают большей точностью и могут применяться в оборудовании, работающем с высокой скоростью вращения.Одновременное шлифование поверхности дорожки качения и ролика после прижима внутреннего кольца к шейке ролика способствует повышению точности прокатки и свободной регулировке монтажного зазора подшипников.Эти подшипники в основном применяются для рабочего ролика и опорного ролика прокатных станов и в некоторых других случаях.
FC: двойные наружные кольца, одинарное внутреннее кольцо и внутреннее без фланца.
FCD: двойные наружные кольца, двойные внутренние кольца и внутреннее кольцо без фланца.
FCDP: двойные наружные кольца, только с центральным фланцем, но со свободным ребром, двойное внутреннее кольцо, внутреннее без фланца.


Подшипник № Размер (мм) Базовая нагрузка (кН) Масса (кг)
dxDxB Дин.(Кр) Стат.(кор)
ФК2640125 130x200x125 530 1200 14.6
ФК3045120 150x225x120 645 1450 16.7
FC3246130 160x230x130 665 1705 16.9
FC3248124 160x240x124 685 1530 20.3
FC3248168 160x240x168 685 1530 26.4
ФКД3446160 170x230x160 1100 2360 20
ФК3452120 170x260x120 660 1790 24.6
FC3652124 180x260x124 735 1730 21.7
FC3652168 180x260x168 1070 2790 30.2
ФК3652168/Я3 180x260x168 1070 2790 30.1
FC3854168 190x270x168 950 2430 30.2
ФК3854168/Я3 190x270x168 950 2430 29.9
ФК3854170/Я3 190x270x200 950 2430 30.2
FC4056188 200x290x192 985 2580 35.7
ФК4462192/Я3 220x310x192 1300 1910 45.8
ФК4462225 220x320x210 1450 4050 53.9
ФК4666206/Я3 230x330x206 1350 3800 56.5
ФК4866220/Я3 240x330x220 1620 4850 56.5
ФК4866220 240x330x220 1620 4850 56.7
ФК4872220 240x360x200 1700 4410 78
ФК4872220А/К4Я3 240x360x200 1700 4410 78
ФК5072220/Я3 250x360x220 1500 4250 76.9
ФК5274200 260 x 370 x 200 1570 4250 73
ФК5274220/Я3 260x370x220 1760 4900 79.2
ФК5274220 260x370x220 1760 4900 80
ФК5476230/Я3 270x380x230 1720 4800 80.2
ФК5478230 270x390x236 2100 5950 97.8
ФК5678220 280x390x220 1790 5150 86.5
ФКДП5678275 280x390x275 2200 6250 102
ФК6490240/Я3 320x450x240 2460 6720 119
ФКД72102370 360x510x370 3850 11400 220
ФКДП74104380 370x520x380 3900 12000 296
ФКДП88124450 440x620x450 5200 15800 452
ФКДП88124450/Я6 440x620x450 5200 15800 452
ФКД96130450 480x650x450 4750 15400 419


60-летняя история с момента основания, подшипники E-ASIA получили бренды SLYB, JSS.
Свяжитесь С Hами
  № 88, здание E-ASIA, 1-6 этаж, промышленный парк Цзинцзян, провинция Цзянсу, Китай
  sales@zwz-skf.com
  +86-15996058266
  rachelsun168

Продукты

Быстрые Cсылки

Авторское право © 2023 E-ASIA Bearing Co., Ltd.  Sitemap Поддерживается Leadong